Experimenten met LC kringen deel 4

<<Naar deel 3   Naar deel 5 >>
Terug naar de index

Van afstemcondensator C1b heb ik de isolatie ringen verwijderd waarmee de stator vastzat.
Het bleek dat de gebruikte nylon schroeven nog enige diëlectrische verliezen gaven.
In plaats daarvan gebruik ik nu een polyetheen isolatieblok welke de stator aan de onderkant ondersteunt.
In de onderstaande tekeningen is dit weergegeven.
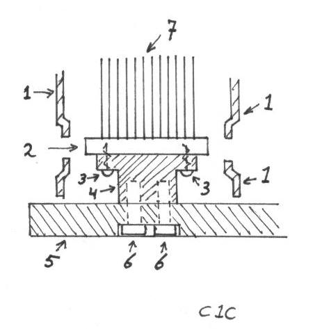
Deze versie van afstemcondensator noem ik: C1c.

Afstemcondensator C1b 

1= behuizing van de afstemcondensator.
2= plastic isolatie ring
3= nylon schroef
4= polyetheen isolatie blokje
5= koperen verbindingsstrip van statorplaten
6= statorplaten

Afstemcondensator C1c

1= behuizing van de afstemcondensator 
2= koperen verbindingsstrip van statorplaten
3= metalen schroef
4= polyetheen blok
5= polyetheen bodemplaat
6= nylon schroef
7= statorplaten

Van afstemcondensator C2 heb ik de plastic isolatieblokjes vervangen door blokjes van polyetheen (dat zijn de groene blokjes op de volgende foto).

Links: C1c  (495 pF).

Rechts: C2a (390 pF).

Na deze veranderingen heb ik weer de Q factor gemeten, deze was toegenomen.
Bij elke meting staat ook de toename van de Q vermeld, in vergelijking met meting 21 en 22.

Meting 
nr

LC combinatie 

F min 
kHz

F max 
kHz

Q
600 kHz 

Q
900 kHz 

Q
1200 kHz 

Q
1500 kHz 

23

L9 C1c 

542

2349

1072
(+10,7%)

947
(+7,3%)

815
(+19,3%)

658
(+12,8%)

24

L9 C2a

606

2400

1143
(+24,9%)
(606 kHz) 

1000
(+32,2%)

833
(+46,6%)

632
(+55,3%)


Bij afstemcondensator C2a heb ik vervolgens heel veel 2 mm gaatjes in de polyetheen isolatieblokjes geboord, in de hoop door het verwijderen van het isolatiemateriaal de dielectrische verliezen nog verder te beperken.
Deze versie van afstemcondensator heet C2b.

Meting 
nr

LC combinatie 

F min 
kHz

F max 
kHz

Q
600 kHz 

Q
900 kHz 

Q
1200 kHz 

Q
1500 kHz 

25

L9 C2b 

600

2382

1052
(-7,9%)

1000
(0,0%)

875
(+5,0%)

714
(+12,9%)

De toename van de Q staat er ook bij, in vergelijking met meting 24.
Bij 600 kHz is er juist een afname in Q, hoe dat komt weet ik niet.
Het kan misschien een meetfout zijn geweest in meting 24, normaal zit de nauwkeurigheid van de gemeten waarden denk ik wel tussen +5% en -5%, maar misschien dat een enkele keer de afwijking wel groter is.

Maar misschien is de Q wel echt afgenomen, dat is op lage frequenties niet erg, daar is een Q van boven de 1000 meer dan genoeg.


"Tot lering en vermaak" meten we nu twee spoelen met een wat lagere Q welke vaak in kristalontvangers gebruikt worden.

Spoel L10
13 meter litzedraad 40x0,07mm op een houder gemaakt van een CD.
De glimmende aluminiumlaag is volledig verwijderd van de CD.

Spoel L11
70 windingen op een wc-rolletje.
Draad: massief 0,8mm geëmailleerd koperdraad.
Draadlengte: ongeveer 10,5 m.
De windingen liggen niet netjes naast elkaar omdat het oud draad was met veel bochten erin.

De gebruikte afstemcondensator is C2b.

Meting 
nr

LC combinatie 

F min 
kHz

F max 
kHz

Q
600 kHz 

Q
900 kHz 

Q
1200 kHz 

Q
1500 kHz 

26

L10 C2b

530

*

358 371 346 304

27

L11 C2b

761

3270

 *

211

234

241

* = niet gemeten.
De gemeten waarden zijn op zich niet slecht, maar bedenk wel dat er een erg goede afstemcondensator gebruikt is.
Een goede vergelijking met metingen 1 t/m 16 is dan ook niet te maken, ook omdat de meetmethode nu beter is.

<< Naar deel 3    Naar deel 5 >>
Terug naar de index