Transformer unit 2

Back to the index

This transformer unit is build around a self made transformer with a very high impedance.

We get the high impedance by placing several transformer coils on the same core.
If we place several coils (number=N) on the same core, and connect the coils in series, the impedance will increase with a factor N² .
In addition we can load the transformer output with a higher load resistance then where it was designed for, this will increase the input impedance even further.

For the construction of the transformer we need:
6 audio transformers with an impedance of  40 kΩ (I used 100V audio transformers brand: Adastra, model: 952.434).
1 old power transformer, with a power rating of 1000 to 2000 Watt, this transformer may be defective, we only use it's iron core.
The coil height of the big transformer must be at least 3 times larger then the coil height of the small audio transformers.
 

The ingredients of the self-made transformer:

Left:  40 kΩ audio transformer (we need 6 of them).

Right:   a big old power transformer

 

From the small audio transformers we remove the iron core.
The core is build with E and I shaped metal plates, which are sticking together with some lacquer.
Removing the first E plate is quite difficult, I put the transformer core in a vice, and pulled out the plate using two pliers.

 

From the large transformer, we remove some E and I plates ( we don't need all of them).
With a metal cutter, we cut out of each E plate, two U-shaped plates which fit precisely into the small transformer coils.
Out of each I plate we cut two short strips.
With these plates, we are going to make a new transformer core.
 

 

Before I dismantled all 6 audio transformers, I first did a test with two coils on the self-made iron core.
One coil was loaded with 16
Ω at the 16 Ω output, the other coil's output was not loaded.
The two 40 kΩ  coils were series connected, the measured impedance of these two coils was 152 kΩ.
The -3 dB bandwidth was 170 - 5300 Hz, en the efficiency  0,688

This looks promising...


 

Now all 6 coils are mounted on the transformer core.
Note: 3 coils on one side are pointing in the same direction, the 3 coils on the other side are pointing in the opposite direction.
The U plates are alternating put in from the left side and the right side into the coils.
The strips are places at the end of the U plate, so a closed core is formed.
On the part of the core outside the coils, some lacquer is applied, this prevents the core from falling apart.
 

 

Properties of the transformer with 6 coils in series.

The 6 coils of 40 kΩ are series connected.
In the next measurements, the output of one coil is loaded with several resistor values.
From the other 5 coils the outputs are not loaded.
On the coils, the following connections are available at the output: common, 8Ω and 16Ω.
 

Table 1

  Input impedance
at 1 kHz
Bandwidth
-3 dB
Efficiency
16 Ω  output loaded with 16 Ω 1500 kΩ 230 - 3100 Hz 0.73
8 Ω output loaded with 16 Ω 2500 kΩ 370 - 3300 Hz 0.73
8 Ω output loaded with 32 Ω 3840 kΩ 510 - 2900 Hz 0.63
8 Ω output loaded with 64 Ω 5740 kΩ 700 - 1920 Hz 0.50
16 Ω connected between
8 Ω and 16 Ω output
6350 710 - 1800 Hz 0.36

With a load of 4 times the normal value (8 Ω output loaded with 32 Ω) both bandwidth and efficiency were still acceptable.
The loudspeaker I generally use as load, has an impedance of 16 Ω.
I decided to make an extra tap on the coil which corresponds to 4 Ω, so the 16 Ω loudspeaker forms a load of 4 times the normal value.


Making a 4 Ω tap on the coil.

To make an extra 4 Ω tap on the coil, we must remove the paper and tape from the outside of the coil.
We now reach the outside layer of windings of the 16 Ω coil.
Connect a 1 kHz signalgenerator to a 16 Ω output of one of the other coils.
Connect an oscilloscope to the 16 Ω output of the opened coil (so measure the voltage between common and 16 Ω connection).
Adjust the amplitude of the signalgenerator, so you measure 1 Volt on the oscilloscope.
When you measure the 8 Ω output, the voltage will be 0.71 Volt.
Try to find a winding on the coil, where the voltage is about 0.5 Volt, this may be in regard to the common, the 8 Ω or the 16 Ω connection.
The voltage of 0.5 Volt corresponds to a impedance of 4 Ω.
To measure the voltage of the windings, we must pierce the tip of the oscilloscope probe through the insulation of the windings.

In my case, I found a winding where the voltage was 0.46 Volt related to the 8 Ω connection, on this winding I soldered a wire (see the next picture, the green wire on the opened coil).

To increase the voltage further from 0.46 to 0.5 Volt, I made 4 extra turns with the wire around the transformer core.
Now we have a connection with an impedance of 4 Ω in regard to the 8 Ω connection.

Extra information:

With each extra winding, the voltage increased 0.01 Volt, while the voltage over the 16 Ω output was 1 Volt.
This indicates the total 16 Ω coil has about 100 windings.
The impedance ratio between input and output of one coil are:
 40000 Ω / 16 Ω = 2500.
The ratio in the number of windings is equal to:  √2500 = 50.
So the number of windings of the 40 kΩ coil must be about 50 x 100 = 5000.

 

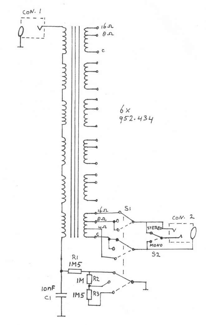
Circuit diagram of transformer unit 2.

Con. 1 is the input connector of the transformer unit.

Via switch S1 the input impedance can be set to one of the following three values.
-   1.5 MΩ (switch in upper position)
-   2.5 MΩ (switch in middle position)
-   4.0 MΩ (switch in lower position)

Con. 2 is the  output of the transformer unit, we can both connect a mono, or stereo plug to it, of course the audio will always be mono.
Via switch S2 we can choose between a mono or stereo plug.
Con. 2 must be loaded with 16 Ω (mono) or 2 x 32 Ω (stereo).
 

The self made "4Ω" connection has in this case an impedance of  4Ω related to the 8Ω connection.

 

Con.1 = 6,3 mm mono socket
Con.2 = 6,3 mm stereo socket
 
 

To mount the transformer in the enclosure, I first used aluminium profiles, which made contact with transformercore and enclosure.
But this was giving extra capacitance between the coils and ground (enclosure), and this reduced the transformers bandwidth.
Later I mounted the transformer insulated in the enclosure, in the position 2.5 MΩ this gave 200 Hz extra bandwidth.

The transformer, insulated mounted in the aluminium box.
The transformercore makes no electrical contact with the box.
 

 

 

The transformer unit, ready for use.


Table 2:    Properties of transformer unit 2:

Switch in position: Measured impedance at 1 kHz Bandwidth -3dB Efficiency
1.5MΩ 1.5 220 - 3250 Hz 0.68
2.5MΩ 2.5MΩ 360-2600 Hz 0.73
4MΩ 4.0MΩ 510 - 1740 Hz 0.66

When measuring the bandwidth, it is important that the input capacitance is as low as possible.
Every extra capacitance will reduce the bandwidth (at high frequencies).
With the capacitance of the input plug (± 5 pF) the bandwidth was: 510 - 1740 Hz (in de position 4 MΩ).
Without the input plug (directly measured on the transformer) the bandwidth increased to 510 - 2100 Hz.

When the transformer is outside the metal enclosure, the bandwidth is even higher (see values in table 1).
The use of a larger enclosure will probably increase bandwidth, because the capacitance between coils and enclosure reduces.
Also we can use a non metal enclosure, but with the risk the transformer picks up hum.
An aluminium enclosure also provides a screening between the coil of the crystal receiver and the iron of the transformer, this reduces loss of Q factor in the receiver coil. (see also experiments with LC circuits measurement 55).

 

Back to the index